Descripció
Paràmetres tècnics
Especificacions tècniques
|
Marcar |
Hima |
|
Model |
F7546 |
|
Número PN |
F 7546 |
|
Descripció |
Mòdul d'acoblament d'autobús d'E/S |
|
Origen |
Alemanya |
|
Dimensió |
21*15*7m |
|
Pes |
0. 05kg |
Detalls del producte
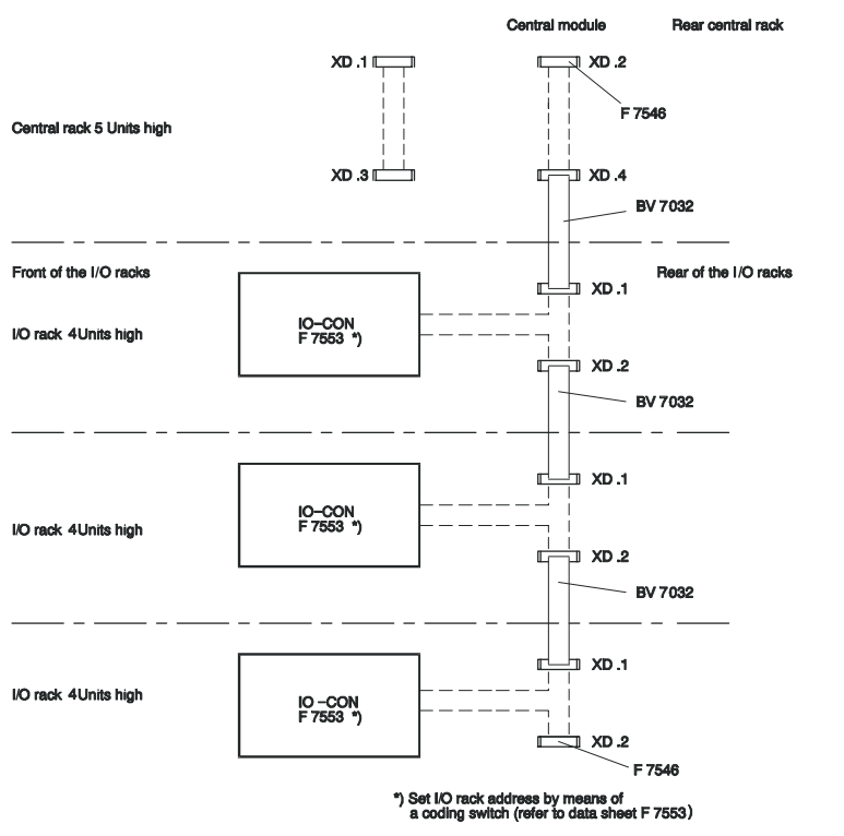
Es connecta un subassemblea de terminació del bus F 7546 a la XD. 2 Connector de l'últim subrack d'E/S per acabar el bus d'E/S.
La connexió de dades del nivell d'E/S amb el dispositiu central s'estableix a través del bus d'E/S. Els mòduls d'acoblament d'E/S ja estan integrats a la cremallera central. Amb el cremallera d'E/S, la connexió amb el bus d'E/S es troba mitjançant un mòdul d'acoblament F 7553 instal·lat a la ranura 17. La connexió del bus entre els subracks individuals s'estableix a la part posterior mitjançant el cable de dades BV 7032. El bus d'E/S, un mòdul F 7546 està connectat al principi i al final.
Els mòduls d'acoblament d'E/S ja estan integrats a la cremallera central. Amb el subrack d'E/S, la connexió amb el bus d'E/S es troba mitjançant un mòdul d'acoblament F 7553 instal·lat a la ranura 17. La connexió del bus entre els subracks individuals s'estableix a la part posterior mitjançant el cable de dades BV 7032. Per acabar amb el bus d'E/S, un mòdul F 7546 està connectat al principi i al final.
Per acabar el bus, un mòdul F 7546 està connectat al principi i al final.

Hiquad H41x
La família del sistema H41X té una estructura modular que inclou un bastidor de base H41X i que també es pot equipar amb un bastidor d'extensió. El bastidor d’extensió addicional es pot utilitzar per crear una estructura d’E/S redundant. Es pot equipar el bastidor de base H41X (Rack-Base 02).
Els mòduls de comunicació estan connectats als mòduls del processador mitjançant dos autobusos del sistema (A i B) en una connexió punt a punt. El mòdul de processador de la ranura 16 controla i monitoritza el sistema del sistema A, mentre que el mòdul de processador de la ranura 18 controla i monitoritza el sistema del sistema B.During Operació redundant, els dos mòduls de processador alineen les seves dades.
Les interfícies de bus del sistema RJ -45 del costat posterior del bastidor de base s'utilitzen per connectar els mòduls d'E/S al bastidor de base H41X als mòduls del processador. S'ha d'utilitzar un mòdul de processament d'E/S (F-IOP 01) al bastidor de base H41X per connectar el bus d'E/S als busos del sistema. Es pot configurar un nivell d'E/S redundant al de la bastidor base integrant un rack d'extensió addicional a la connexió del bus del sistema del bastidor de base H41X.
Benvingut a la consulta!
EM. Somrient Gestor de vendes┃china
Atten: somrient
Mòbil/whatsapp/wechat: +86 18050035902
Correu electrònic:info@htechplc.com
Lloc web:https://www.joyoungintl.com/
Adreça: Sala 1904, núm. 96-2 Lujiang Road, Districte de Siming, Xiamen, Xina.












